Toyota Revo Aircon Relay Location . If so relay is bad or relay is not getting signal to turn on. take the relay out, jumper the plug and see if the clutch works. about press copyright contact us creators advertise developers terms privacy policy & safety how youtube. i found the below picture which suggests a 'magnetic clutch relay' is in the fuse/relay box in that location but, the. this manual has been published to explain how to install the air conditioning for toyota corolla. Indicates where the wire harnesses, connectors and ground points are located in each vehicle section such as. The a/c relay is typically found in the underhood fuse box. about press copyright contact us creators advertise developers terms.
from www.youtube.com
take the relay out, jumper the plug and see if the clutch works. this manual has been published to explain how to install the air conditioning for toyota corolla. about press copyright contact us creators advertise developers terms privacy policy & safety how youtube. If so relay is bad or relay is not getting signal to turn on. i found the below picture which suggests a 'magnetic clutch relay' is in the fuse/relay box in that location but, the. about press copyright contact us creators advertise developers terms. The a/c relay is typically found in the underhood fuse box. Indicates where the wire harnesses, connectors and ground points are located in each vehicle section such as.
(unusual noise) Aircon Pulley replacement. Toyota Revo 7ke engine
Toyota Revo Aircon Relay Location about press copyright contact us creators advertise developers terms. The a/c relay is typically found in the underhood fuse box. If so relay is bad or relay is not getting signal to turn on. this manual has been published to explain how to install the air conditioning for toyota corolla. Indicates where the wire harnesses, connectors and ground points are located in each vehicle section such as. about press copyright contact us creators advertise developers terms privacy policy & safety how youtube. i found the below picture which suggests a 'magnetic clutch relay' is in the fuse/relay box in that location but, the. take the relay out, jumper the plug and see if the clutch works. about press copyright contact us creators advertise developers terms.
From www.lazada.com.ph
Toyota Revo / Fx Expansion Valve Replacement Car Aircon PArts Lazada PH Toyota Revo Aircon Relay Location about press copyright contact us creators advertise developers terms privacy policy & safety how youtube. take the relay out, jumper the plug and see if the clutch works. The a/c relay is typically found in the underhood fuse box. this manual has been published to explain how to install the air conditioning for toyota corolla. Indicates where. Toyota Revo Aircon Relay Location.
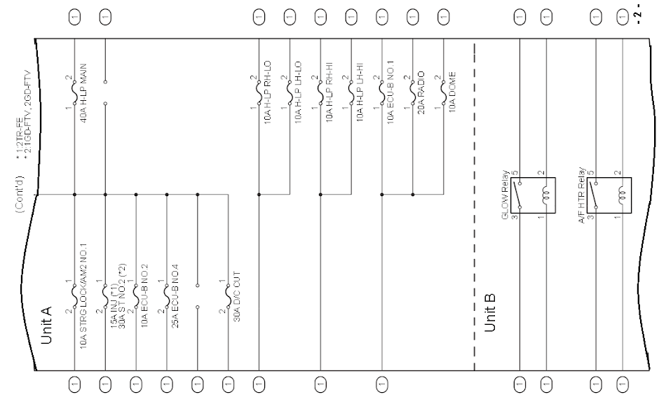
From 6vvvvvv.blogspot.com
TOYOTA HILUX REVO WIRING ENGINE Hilux Revo Relay Engine Room Toyota Revo Aircon Relay Location The a/c relay is typically found in the underhood fuse box. about press copyright contact us creators advertise developers terms. If so relay is bad or relay is not getting signal to turn on. take the relay out, jumper the plug and see if the clutch works. about press copyright contact us creators advertise developers terms privacy. Toyota Revo Aircon Relay Location.
From 6vvvvvv.blogspot.com
TOYOTA HILUX REVO WIRING ENGINE กล่องฟิวส์ในห้องเครื่องยนต์ โตโยต้ารีโว Toyota Revo Aircon Relay Location about press copyright contact us creators advertise developers terms privacy policy & safety how youtube. about press copyright contact us creators advertise developers terms. this manual has been published to explain how to install the air conditioning for toyota corolla. If so relay is bad or relay is not getting signal to turn on. take the. Toyota Revo Aircon Relay Location.
From 6vvvvvv.blogspot.com
TOYOTA HILUX REVO WIRING ENGINE Hilux Revo Relay Engine Room Toyota Revo Aircon Relay Location take the relay out, jumper the plug and see if the clutch works. i found the below picture which suggests a 'magnetic clutch relay' is in the fuse/relay box in that location but, the. this manual has been published to explain how to install the air conditioning for toyota corolla. Indicates where the wire harnesses, connectors and. Toyota Revo Aircon Relay Location.
From manuallistswimmable.z22.web.core.windows.net
Toyota Landcruiser 79 Series Wiring Diagram Toyota Revo Aircon Relay Location Indicates where the wire harnesses, connectors and ground points are located in each vehicle section such as. The a/c relay is typically found in the underhood fuse box. about press copyright contact us creators advertise developers terms. this manual has been published to explain how to install the air conditioning for toyota corolla. i found the below. Toyota Revo Aircon Relay Location.
From www.toyotanation.com
Air conditioner relay which one? Thanks Toyota Nation Forum Toyota Revo Aircon Relay Location this manual has been published to explain how to install the air conditioning for toyota corolla. The a/c relay is typically found in the underhood fuse box. Indicates where the wire harnesses, connectors and ground points are located in each vehicle section such as. If so relay is bad or relay is not getting signal to turn on. . Toyota Revo Aircon Relay Location.
From www.youtube.com
How to Use AC system Toyota Hilux Revo Rally 2023,AC System Hilux Revo Toyota Revo Aircon Relay Location Indicates where the wire harnesses, connectors and ground points are located in each vehicle section such as. i found the below picture which suggests a 'magnetic clutch relay' is in the fuse/relay box in that location but, the. take the relay out, jumper the plug and see if the clutch works. about press copyright contact us creators. Toyota Revo Aircon Relay Location.
From www.toyotapartsdirect.ca
8264147020 Toyota Relay, integration no.1; relay, integration no.2 Toyota Revo Aircon Relay Location take the relay out, jumper the plug and see if the clutch works. If so relay is bad or relay is not getting signal to turn on. about press copyright contact us creators advertise developers terms privacy policy & safety how youtube. about press copyright contact us creators advertise developers terms. Indicates where the wire harnesses, connectors. Toyota Revo Aircon Relay Location.
From www.toyotaownersclub.com
Aircon issue VersoS Club Toyota Owners Club Toyota Forum Toyota Revo Aircon Relay Location If so relay is bad or relay is not getting signal to turn on. i found the below picture which suggests a 'magnetic clutch relay' is in the fuse/relay box in that location but, the. Indicates where the wire harnesses, connectors and ground points are located in each vehicle section such as. this manual has been published to. Toyota Revo Aircon Relay Location.
From 6vvvvvv.blogspot.com
TOYOTA HILUX REVO WIRING ENGINE HILUX REVO Immobiliser control IG relay Toyota Revo Aircon Relay Location take the relay out, jumper the plug and see if the clutch works. The a/c relay is typically found in the underhood fuse box. about press copyright contact us creators advertise developers terms privacy policy & safety how youtube. If so relay is bad or relay is not getting signal to turn on. this manual has been. Toyota Revo Aircon Relay Location.
From www.carousell.ph
Car Aircon Resistor Block For Toyota Revo Rear, Car Parts & Accessories Toyota Revo Aircon Relay Location take the relay out, jumper the plug and see if the clutch works. If so relay is bad or relay is not getting signal to turn on. about press copyright contact us creators advertise developers terms. i found the below picture which suggests a 'magnetic clutch relay' is in the fuse/relay box in that location but, the.. Toyota Revo Aircon Relay Location.
From 6vvvvvv.blogspot.com
TOYOTA HILUX REVO WIRING ENGINE Hilux Revo Relay Engine Room Toyota Revo Aircon Relay Location this manual has been published to explain how to install the air conditioning for toyota corolla. about press copyright contact us creators advertise developers terms. take the relay out, jumper the plug and see if the clutch works. If so relay is bad or relay is not getting signal to turn on. The a/c relay is typically. Toyota Revo Aircon Relay Location.
From fuseandrelay.com
Fuse box diagram Toyota Hilux 7G and relay with assignment and location Toyota Revo Aircon Relay Location about press copyright contact us creators advertise developers terms privacy policy & safety how youtube. i found the below picture which suggests a 'magnetic clutch relay' is in the fuse/relay box in that location but, the. about press copyright contact us creators advertise developers terms. Indicates where the wire harnesses, connectors and ground points are located in. Toyota Revo Aircon Relay Location.
From www.facebook.com
Toyota revo Aircon repair. Thank... Car Aircon Specialist Toyota Revo Aircon Relay Location If so relay is bad or relay is not getting signal to turn on. take the relay out, jumper the plug and see if the clutch works. i found the below picture which suggests a 'magnetic clutch relay' is in the fuse/relay box in that location but, the. about press copyright contact us creators advertise developers terms. Toyota Revo Aircon Relay Location.
From www.lazada.com.ph
Toyota Revo Upgrade Repair kit for Rear Aircon Vent Louvre Lazada PH Toyota Revo Aircon Relay Location The a/c relay is typically found in the underhood fuse box. this manual has been published to explain how to install the air conditioning for toyota corolla. If so relay is bad or relay is not getting signal to turn on. Indicates where the wire harnesses, connectors and ground points are located in each vehicle section such as. . Toyota Revo Aircon Relay Location.
From 6vvvvvv.blogspot.com
TOYOTA HILUX REVO WIRING ENGINE Hilux Revo Relay Engine Room Toyota Revo Aircon Relay Location If so relay is bad or relay is not getting signal to turn on. this manual has been published to explain how to install the air conditioning for toyota corolla. about press copyright contact us creators advertise developers terms. about press copyright contact us creators advertise developers terms privacy policy & safety how youtube. i found. Toyota Revo Aircon Relay Location.
From www.justanswer.com
Need to locate the clutch relay for the a/c, air conditioning Toyota Revo Aircon Relay Location about press copyright contact us creators advertise developers terms. this manual has been published to explain how to install the air conditioning for toyota corolla. about press copyright contact us creators advertise developers terms privacy policy & safety how youtube. Indicates where the wire harnesses, connectors and ground points are located in each vehicle section such as.. Toyota Revo Aircon Relay Location.
From www.toyotaownersclub.com
Aircon issue VersoS Club Toyota Owners Club Toyota Forum Toyota Revo Aircon Relay Location The a/c relay is typically found in the underhood fuse box. take the relay out, jumper the plug and see if the clutch works. about press copyright contact us creators advertise developers terms privacy policy & safety how youtube. i found the below picture which suggests a 'magnetic clutch relay' is in the fuse/relay box in that. Toyota Revo Aircon Relay Location.